磁性過濾器產品概述
磁性過濾器是一種平蓋上安裝有一根或多根磁棒并放置在由沖孔板和編織網制作而成的濾籃內,用于管道中去除介質流中夾帶的鐵屑、鐵粉、鐵銹等含鐵雜質和其他雜物的籃式磁性過濾器。其濾籃上設有提手裝置,能夠在固定籃狀濾筒的同時,也便于它的抽出,方便拆裝和清洗,筒體內濾籃位于進出口之間,從而將物料入口和出口分隔開來,使得待過濾介質必須先由進料口進入到濾筒內經過磁力棒和濾網后,才能從出料口流出,其中大于網孔尺寸的固體雜質被阻攔在籃狀濾筒內,而粒徑小于網眼的含鐵或其他磁性金屬顆粒物則會被磁力棒組件所吸附,從而確保了管線裝置免受堵塞和損壞。本產品具有過濾面積大,納污能力強,密封性能好,流體阻力小,使用時間長等特點。
磁性過濾器部件材料
| 序號 | 部件名稱 | 材料名稱 | |||||
| 1 | 筒 體 | Q235B | 20# | 304 | 304L | 316 | 316L |
| 2 | 斜 度 板 | Q235B | Q235B | 304 | 304L | 316 | 316L |
| 3 | 接 管 | Q235B | 20# | 304 | 304L | 316 | 316L |
| 4 | 濾 籃 | 304 | 304 | 304 | 304L | 316 | 316L |
| 5 | 墊 片 | 聚四氟乙烯、金屬環形墊、金屬纏繞墊、復合墊 | |||||
| 6 | 法 蘭 | Q235B | A105 | 304 | 304L | 316 | 316L |
| 7 | 平 蓋 | Q235B | Q235B | 304 | 304L | 316 | 316L |
| 8 | 螺 柱 | 35CrMoA | 35CrMoA | 304 | 304 | 316 | 316 |
| 9 | 螺 母 | 30CrMo | 30CrMo | 304 | 304 | 316 | 316 |
磁性過濾器性能規范
| 公稱壓力PN(MPa) | 1.0 | 1.6 | 2.5 | 4.0 | 2.0 | 5.0 |
| 殼體試驗壓力(MPa) | 1.5 | 2.4 | 3.75 | 6.0 | 3.0 | 7.5 |
| 氣密性試驗壓力(MPa) | 1.0 | 1.6 | 2.5 | 4.0 | 2.0 | 5.0 |
| 設計制造 | SH/T 3411-2017、HG/T 21637-2021、JB/T 7538-2016 | |||||
| 法蘭標準 | JB/T 81~82、GB/T 9115~9119、HG/T 20592~20615、SH/T 3406、ASME B16.5等 | |||||
| 檢驗驗收 | SH/T 3411-2017、HG/T 21637-2021、JB/T 7538-2016 | |||||
| 濾網目數 | 2目 ~ 600目 | |||||
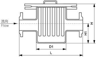
磁性過濾器主要尺寸
| 公稱壓力 PN | 公稱通徑 DN | 結構尺寸/mm | 放空口 B | 排污口 B | |||
| D | L | H | H1 | ||||
| 10 | 50 | 108 | 260 | 300 | 170 | R ? | R ? |
| 65 | 140 | 330 | 360 | 240 | R ? | R ? | |
| 80 | 159 | 340 | 400 | 250 | R ? | R ? | |
| 100 | 219 | 400 | 470 | 300 | R ? | R ? | |
| 125 | 273 | 480 | 550 | 360 | R ? | R ? | |
| 150 | 273 | 500 | 630 | 420 | R ? | R ? | |
| 200 | 325 | 560 | 780 | 530 | R ? | R ? | |
| 250 | 426 | 660 | 930 | 640 | R ? | R ? | |
| 300 | 457 | 750 | 1200 | 840 | R ? | R ? | |
| 350 | 508 | 810 | 1370 | 920 | R ? | R ? | |
| 400 | 559 | 900 | 1500 | 950 | R 1 | R 1 | |
| 表中未列出的其他規格參數,請咨詢汗越閥門技術部! | |||||||
磁性過濾器結構圖


