夾套球閥產品概述
夾套球閥是一種殼體上焊裝有一環繞于閥體外且設有一熱源入口和出口的保溫夾套,用于管線輸送易于結晶的物料和黏稠介質的球閥。該閥一般都做成側裝式、整體式閥體、浮動球結構,無中部法蘭和左、右體連接,減少了泄漏率,端部連接法蘭采用變徑加大法蘭,增加了夾套內部的空間,從而使它有足夠的熱源來防止介質凝固或結晶,保持流體流動特性,避免閥門堵塞和開關失靈。其法蘭螺蓋的設計為連接采用螺紋緊配,加墊片密封,安裝時再加上管道的法蘭及墊片,可達到雙重密封的效果。本產品通常在夾套內注入蒸汽或導熱油,也可根據用戶需要流通冷卻水或冷氣等,使整個閥門升溫或降溫,以達到所需要的溫度。
夾套球閥部件材料
| 序號 | 部件名稱 | 材料名稱 | ||||
| 1 | 閥 體 | WCB | CF8 | CF3 | CF8M | CF3M |
| 2 | 端 蓋 | WCB | CF8 | CF3 | CF8M | CF3M |
| 3 | 閥 座 | R-PTFE、PTFE、TEFLON、NYLON、PPL、PEEK、DEVLON、不銹鋼+硬質合金 | ||||
| 4 | 球 體 | 2Cr13 | 304 | 304L | 316 | 316L |
| 5 | 閥 桿 | 2Cr13 | 304 | 304L | 316 | 316L |
| 6 | 填 料 | GRAPHITE、R-PTFE、PTFE、TEFLON、PCTFE | ||||
| 7 | 填料壓蓋 | WCB | CF8 | CF3 | CF8M | CF3M |
| 8 | 保溫夾套 | Q235B | 304 | 304 | 304 | 304 |
夾套球閥技術規范
| 公稱壓力PN(MPa) | 1.6 | 2.5 | 4.0 | 6.3 | 10.0 |
| 殼體試驗壓力(MPa) | 2.4 | 3.75 | 6.0 | 9.45 | 15.0 |
| 高壓液體密封試驗壓力(MPa) | 1.76 | 2.75 | 4.4 | 6.93 | 11.0 |
| 低壓氣體密封試驗壓力(MPa) | 0.4~0.7 | 0.4~0.7 | 0.4~0.7 | 0.4~0.7 | 0.4~0.7 |
| 設計制造 | JB/T 13458、GB/T 12237、GB/T 21385、API 608、ASME B16.34 | ||||
| 結構長度 | JB/T 13458、GB/T 12221、ASME B16.10 | ||||
| 法蘭標準 | JB/T 79、GB/T 9113、HG/T 20592、HG/T 20615、SH/T 3406、ASME B16.5等 | ||||
| 檢驗試驗 | GB/T 13927、GB/T 26480、JB/T 9092、API 598 | ||||
夾套球閥主要尺寸
| 公稱壓力 PN(MPa) | 公稱尺寸 DN(mm) | 連接端規格 A×B(mm) | 結構長度 L(mm) | 公稱壓力 PN(MPa) | 公稱尺寸 DN(mm) | 連接端規格 A×B(mm) | 結構長度 L(mm) |
| 1.6 | 15 | 15×32 | 108 | 1.6 | 65 | 65×100 | 203 |
| 15 | 15×40 | 108 | 80 | 80×125 | 229 | ||
| 20 | 20×40 | 117 | 100 | 100×150 | 254 | ||
| 25 | 25×50 | 127 | 125 | 125×200 | 267 | ||
| 32 | 32×50 | 140 | 150 | 150×200 | 292 | ||
| 40 | 40×65 | 165 | 150 | 150×250 | 292 | ||
| 40 | 40×80 | 165 | 200 | 200×250 | 330 | ||
| 50 | 50×80 | 178 | 200 | 200×300 | 330 | ||
| 表中A表示法蘭內徑的公稱尺寸,B表示法蘭其他尺寸的公稱尺寸。如需其他規格參數,請咨詢汗越閥門技術部! | |||||||
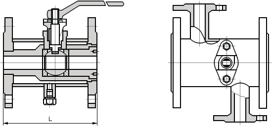
夾套球閥結構圖

如果你需訂購我廠保溫球閥系列產品,咨詢時煩請注明型號規格,或提供公稱通徑、公稱壓力、閥體和內件材質、使用介質、工作溫度及驅動方式(手動、蝸輪蝸桿傳動、氣動、電動、液動等)。

